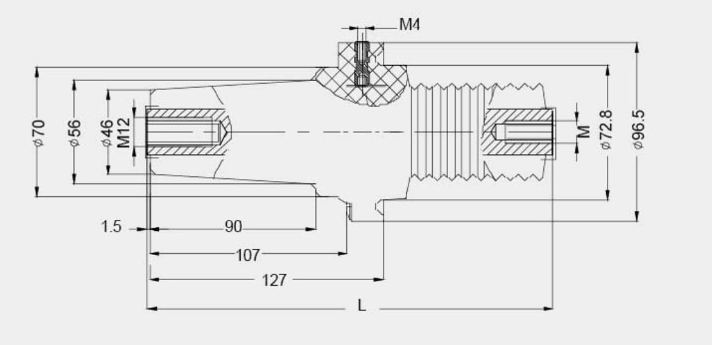
220/235 With Umbrella Skirt Sleeve
Technical Parameters:
PF: 48kV/min, 79kV/min
PD: 13.2kV≤5pC, 26 4kV≤5pC
Rated current:630A/1250A
Capacitance value: 18 ± 2PF
Color: Purplish red(6GDEP.260)、red/green(6GDEP.220/235)
Sealingring.Ф92*Ф5(6GDEP.260)、Ф73* Ф6(6GDEP.260) (inside diameter * line diameter)
